韩国漫画

韩国漫画 行政管理权力运行工作流程图

2021-01-22 15:48 作者:本站编辑 审核: 浏览:次

-

-

-

-

韩国漫画 干部选拔任命工作流程图

韩国漫画 公章使用工作流程图

韩国漫画 盖章流程图

韩国漫画 固定资产购置流程图



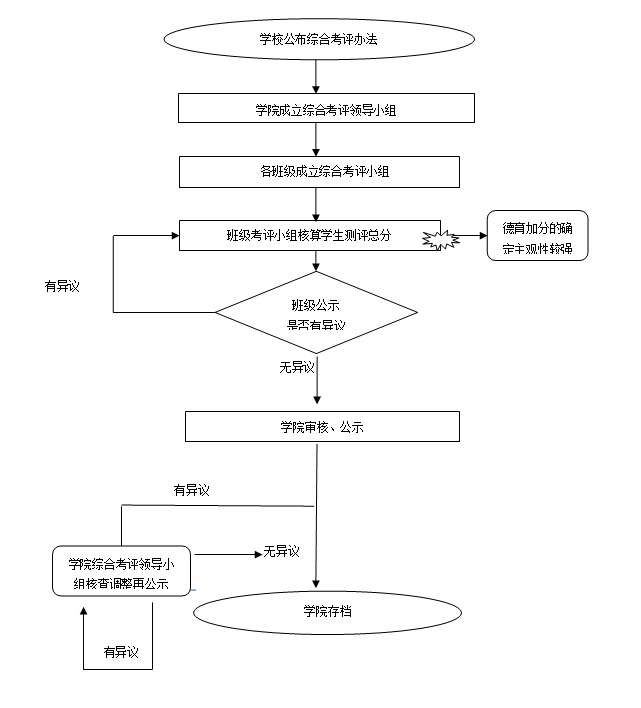
韩国漫画 学生综合考评流程图